标准件相关尺寸选型解决方案
- 解决方案
- 2026-02-15
- 67热度
- 0评论
信息获取网址
国家标准全文公开系统(点击即可打开)
图文教程

点击检索

筛选条件选择 现行 在ICS分类选择更多

选择红色图标所示的21-机械系统和通用件 蓝色图标所示的25-机械制造多为机械的制造规范,条件等 如果读者需要可以勾选

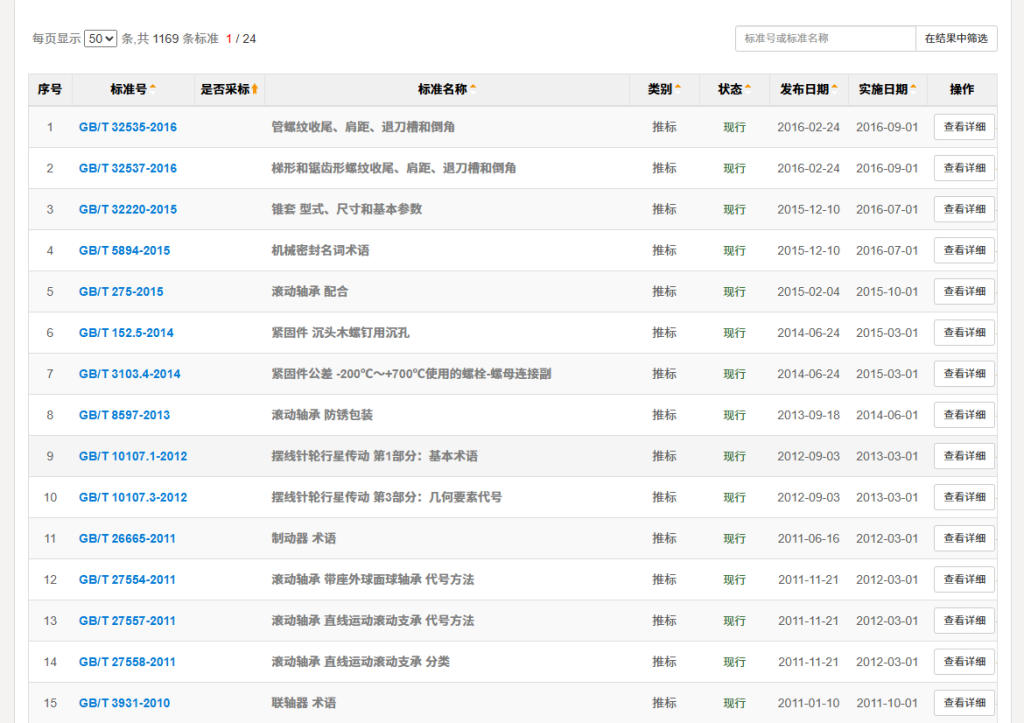
每页显示选择50 点击是否采标进行排序

如图所示,得到标准件相关尺寸国标下载

如果读者所需标准在是否采标一栏里有个采字,则是不可下载,需要读者另寻他法进行下载
但多半不是要收费就是步骤繁杂,让人心寒
尾言
如果机械行业也有像计算机行业那样有许多完善的平台,搜寻资料简单便利就好了
